1/52
Looks like no tags are added yet.
Name | Mastery | Learn | Test | Matching | Spaced | Call with Kai |
|---|
No analytics yet
Send a link to your students to track their progress
Do ogrzewania naczyń, w których przeprowadzana jest reakcja, najczęściej stosuje się…
elektryczne płaszcze grzewcze z regulowaną (poprzez autotransformator) mocą grzania.
(Czynności pomocnicze - ogrzewanie)
Łaźnie wodne używa się w przypadkach, gdy…
istnieje potrzeba ogrzania zawartości kolby do temperatury poniżej 100°C
Ogrzewanie palnikiem umieszczonym pod płytką ceramiczną, na której stoi kolba stożkowa lub zlewka, stosowane jest praktycznie wyłącznie do…
roztworów wodnych
Kolby wykorzystywane do ogrzewania muszą być zaopatrzone w…
chłodnicę zwrotną
Niekiedy istnieje potrzeba zabezpieczenia substancji umieszczonej w kolbie przed dostępem wilgoci z atmosfery, montuje się wtedy…
na wylocie chłodnicy rurkę ze środkiem suszącym
(Narysuj) Schemat aparatury do ogrzewania pod chłodnicą zwrotną
a - kolba okrągłodenna
b - chłodnica zwrotna
c - rurka zabezpieczająca przed wilgocią z atmosfery


Czym są aparatury oznaczone literami a, b i c na tym rysunku i co on przedstawia?
a - kolba okrągłodenna
b - chłodnica zwrotna
c - rurka zabezpieczająca przed wilgocią z atmosfery
Ten rysunek przedstawia schemat aparatury do ogrzewania pod chłodnicą zwrotną.
Do chłodzenia naczynia reakcyjnego stosuje się (w zależności od potrzeb)…
zimną wodę, wodę z lodem lub (gdy ilość ciepła wydzielanego w reakcji jest znaczna) lód posypywany solą kuchenną.
Kiedy do chłodzenia naczynia reakcyjnego stosuje się lód posypywany solą kuchenną?
Wtedy, gdy ilość ciepła wydzielanego w reakcji jest znaczna.
Do ilu stopni C można schłodzić zawartość kolby przy użyciu lodu posypywanego solą kuchenną?
nawet do -15°C
Niższe niż -15°C temperatury można uzyskać chłodząc układ reakcyjny…
mieszaninami „suchego lodu” (czyli stałego CO2)
z acetonem
lub
metanolem
Jeżeli chłodzenie jest niezbędne w celu odbierania ciepła wydzielanego w reakcji, podczas stopniowego dodawania reagenta, to…
nie należy dopuszczać do nadmiernego schłodzenia całego środowiska reakcji, gdyż następuje wtedy niebezpieczna kumulacja nieprzereagowanych substancji
Jeżeli chłodzenie jest niezbędne w celu odbierania ciepła wydzielanego w reakcji, podczas stopniowego dodawania reagenta, to nie należy dopuszczać do nadmiernego schłodzenia całego środowiska reakcji, gdyż…
następuje wtedy niebezpieczna kumulacja nieprzereagowanych substancji, obniżanie temperatury spowalnia szybkość reakcji, a to w konsekwencji może doprowadzić do niekontrolowanego wzrostu temperatury
Co powoduje obniżanie temperatury w reakcji?
spowalnia szybkość reakcji, a to w konsekwencji może doprowadzić do niekontrolowanego wzrostu temperatury.
Mieszanie - funkcja
ułatwia kontakt między reagentami, zwłaszcza w przypadkach, gdy układ reakcyjny składa się z dwóch różnych faz (na przykład cieczy i ciała stałego, bądź dwóch niemieszających się ze sobą cieczy)*
lepsza jest również wymiana ciepła między mieszaną zawartością naczynia reakcyjnego a ścianką naczynia i medium grzejnym lub chłodzącym, co ułatwia kontrolę temperatury.
*Nawet w sytuacji, gdy tworzy się roztwór, ale jeden z reagentów jest wprowadzany stopniowo, mieszanie ułatwia szybkie rozpuszczenie tego składnika w całej objętości.
Jakie są rodzaje mieszadeł?
magnetycze
mechaniczne
Rodzaj stosowanego mieszadła zależy od…
gęstości i lepkości mieszaniny
W jakim wypadku lepiej jest zastosować mieszanie mechaniczne?
W przypadku zbyt gęstego środowiska, jest ono szczególnie niezastąpione, jeśli w reakcji bierze udział duża ilość osadu.
(Narysuj) Schemat aparatury do prowadzenia reakcji z użyciem mieszadła mechanicznego
a - kolba trójszyjna
b - mieszadło mechaniczne
c - chłodnica zwrotna
d - wkraplacz z wyrównaniem ciśnienia


Czym są aparatury oznaczone literami a, b,c i d na tym rysunku i co on przedstawia?
a - kolba trójszyjna
b - mieszadło mechaniczne
c - chłodnica zwrotna
d - wkraplacz z wyrównaniem ciśnienia\
Ten rysunek przedstawia schemat aparatury do prowadzenia reakcji z użyciem mieszadła mechanicznego.
(Narysuj) Schemat aparatury do destylacji prostej.
a - kolba
b - nasadka destylacyjna
c - termometr
d - chłodnica Liebiga
e - końcówka destylacyjna
f - odbieralnik


Czym są aparatury oznaczone literami a, b, c, d, e i f na tym rysunku i co on przedstawia?
a - kolba
b - nasadka destylacyjna
c - termometr
d - chłodnica Liebiga
e - końcówka destylacyjna
f - odbieralnik
Ten rysunek przedstawia schemat aparatury do destylacji prostej.
(Narysuj) Schemat aparatury do destylacji frakcyjnej.
a - kolba
b - deflegmator
c - nasadka destylacyjna
d - termometr
e - chłodnica Liebiga
f - końcówka destylacyjna
g - odbieralnik


Czym są aparatury oznaczone literami a, b, c, d, e, f i g na tym rysunku i co on przedstawia?
a - kolba
b - deflegmator
c - nasadka destylacyjna
d - termometr
e - chłodnica Liebiga
f - końcówka destylacyjna
g - odbieralnik
Ten rysunek przedstawia schemat aparatury do destylacji frakcyjnej.
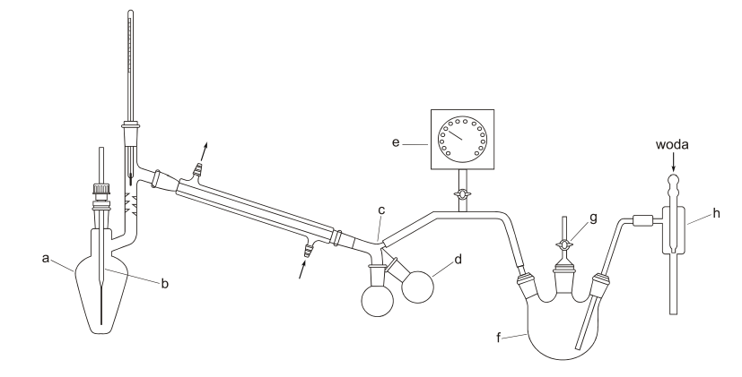
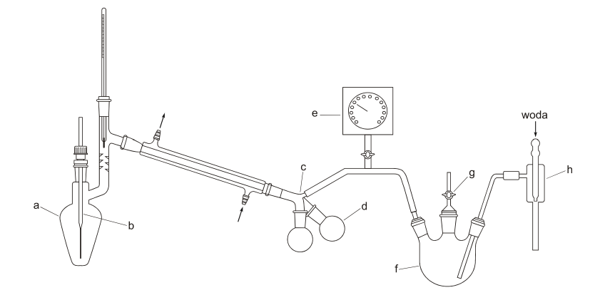
(Narysuj) Schemat aparatury do destylacji próżniowej
a - kolba Claisena z deflegmatorem
b - kapilara
c - krówka
d - odbieralniki okrągłodenne
e - manometr
f - kolba zabezpieczająca
g - zawór
h - pompka wodna


Czym są aparatury oznaczone literami a, b, c, d, e, f, g i h na tym rysunku i co on przedstawia?
b - kapilara
c - krówka
d - odbieralniki okrągłodenne
e - manometr
f - kolba zabezpieczająca
g - zawór
h - pompka wodna
Ten rysunek przedstawia schemat aparatury do destylacji próżniowej
(Narysuj) Schemat aparatury do destylacji z parą wodną
a - kociołek do wytwarzania pary
b - rurka wyrównująca ciśnienie (zawór bezpieczeństwa)
c - łącznik doprowadzający parę wodną do kolby
d - nasadka destylacyjna
e - kolba z mieszaniną poddawaną destylacji


Czym są aparatury oznaczone literami a, b, c, d i e na tym rysunku i co on przedstawia?
a - kociołek do wytwarzania pary
b - rurka wyrównująca ciśnienie (zawór bezpieczeństwa)
c - łącznik doprowadzający parę wodną do kolby
d - nasadka destylacyjna
e - kolba z mieszaniną poddawaną destylacji
Ten rysunek przedstawia schemat aparatury do destylacji z parą wodną
(Narysuj) Schemat aparatury do destylacji azeotropowej
a - kolba destylacyjna
b - nasadka azeotropowa
c - chłodnica zwrotna


Czym są aparatury oznaczone literami a, b i c na tym rysunku i co on przestawia?
a - kolba destylacyjna
b - nasadka azeotropowa
c - chłodnica zwrotna
Ten rysunek przedstawia schemat aparatury do destylacji azeotropowej
Techniki wyodrębniania substancji
Technika krystalizacji
Technika destylacji
Krystalizacja to…
wypadanie z fazy ciekłej substancji stałej w postaci kryształów/ technika oczyszczania substancji stałej wykorzystująca tą technikę
Etapy krystalizacji
Roztwór nasycony ogrzewamy
Sączenie roztworu (oddzielenie z zanieczyszczeń)
Ochłodzenie roztworu
Odsadzenie kryształów
Wysuszenie kryształów
Ogrzewanie przy pomocy kolby z chłodnicą
nie uwalniają się opary, nie tworzy się wysokie ciśnienie
Rozpuszczalnik niskowrzący
chłodzenie wodą
Rozpuszczalnik wysokowrzący
chłodzenie powietrzem
Substancja wrażliwa na wilgoć
rurka na chłodnicy z środkiem higroskopijnym
Zapobiec przegrzaniu
kamyczki wrzenne do kolby (zapobiega stanowi przegrzania)
Filtrowanie grawitacyjne w lejku
trzeba ogrzać lejek płaszczem żeby zapobiec wychłodzeniu substancji i krystalizacji
Sączenie pod zmniejszonym ciśnieniem z lejkiem szota
wyssane powietrze z kolby
Ochłodzenie z zewnątrz woda kolby z przesączem w celu…
wytrącania kryształów
Suszenie osadu:
- jedzenie w piecu
- suszenie chemiczne (eksykator)
Zanieczyszczenia smoliste - przykład
Fioletowy kolor zamiast białego
Zanieczyszczenia smoliste
a poziomie ogrzewania dodać…
węgiel aktywny (wiąże na sobie substancje smoliste, zostaje na lejku)
Dlaczego w wypadki zanieczyszczeń smolistych na poziomie ogrzewania należy dodać węgiel aktywny?
Bo wiąże na sobie substancje smoliste, zostaje na lejku
Różnica w temperaturach wrzenia pomiędzy substancjami rozdzielonymi
ta o niższej temperaturze pierwsza opuszcza Kolbę, jak cala odparuje druga substancja zaczyna opuszczać Kolbę
Destylacja prosta
minimum 85 stopni różnicy (kolba, kamyczek wrzenny, termometr, chłodnica destylacyjna zamontowana pod lekkim spadkiem, odbieralnik)
Destylacja frakcyjna
różnica mniejsza niż 85 stopni (deflegmator – wyżej wrząca do chłodnicy, niżej wrzącą zawraca do kolby)
Destylacja pod zmniejszonym ciśnieniem
destylacja w niższej temperaturze dzięki niskiemu ciśnieniu, kiedy substancja ma za wysoka temperaturę ciśnienia i się rozkłada/ wysoka temperatura wrzenia żeby nie zużywać tak dużo energii (manometr do kontroli ciśnienia)
deflegmator
wyżej wrząca do chłodnicy, niżej wrzącą zawraca do kolby
Destylacja pod zmniejszonym ciśnieniem - etapy
Wypompować powietrze w celu obniżenia ciśnienia (rurka kapilarna zapobiega przegrzaniu cieczy)
Ogrzewamy czyli destylacja
Chłodnica zwykle chłodzona wodą
Po ostygnięciu wyrównanie ciśnienia
Destylacja z parą wodną
nie otrzymamy czystej substancji, tylko wstępne, skomplikowana mieszanina poreakcyjna, destylacja olejków roślinnych (wytwornica pary wodnej, chłodnica)
Destylacja z parą wodną - etapy
Para wodna zabiera składnik lotny z parą wodną
Chłodnica chłodzona zawsze wodą
Dopóki destylat mętny do wtedy prowadzimy destylacje
W odbiorniku podział na warstwę wody i warstwę organiczną
Ekstrakcja w rozdzielaczu