1/105
Looks like no tags are added yet.
Name | Mastery | Learn | Test | Matching | Spaced |
|---|
No study sessions yet.

(Introduksjonsoppgaver) Sett rett navn på rett bygningsdel
Svill, overdekning, losholt


(Introduksjonsoppgaver) Lovverket: Skriv inn det manglede ordet eller forkortingen
plan og bygningsloven (pbl), TEK17, SAK10, DOK10.
VTEK, VSAK
dokumentasjon


(Introduksjonsoppgaver) Kyotopyramiden: Skriv inn det manglende ordet
redusere
energieffektive
solvarme og solfangere
behovsstyring, sensorer
velge energieffektiv


(Introduksjonsoppgaver) Et hus må tilpasses tomta, terrenget og omgivelsene for å oppnå gode bruksfunksjoner og slik at man unngår store terrenginngrep. Hvilke av disse elementene skal hensyntas?
- Estetikk, nabohusets utforming
- Veier, snuplasser og parkering
- Lekeplasser og friområder
- Ledninger og grøfter
- Terrengarbeider
- Overvannshåndtering
- Snørydding
- Støttemurer


(Introduksjonsoppgaver) Merk de riktige bygningsdelene i tverrsnittegningen (tak og fundament) med de korrekte navnene:
Svillemembran
Taktekking på taktro
Drenerende masser
Nedforet himling
Dampsperre
Kombinert undertak og vindsperre
Ringmurisolasjon
Markisolasjon
Sløyfe og luftspalte
Radonmembran

![<p>(Introduksjonsoppgaver) Hvis man følger energitiltaksmetoden etter TEK17 §14-2 (2), hva er de generelle kravene til U-verdi:</p><p>- Yttervegg <…</p><p>- Tak <…</p><p>- Gulv <…</p><p>- Dør og vindu <…</p><p></p><p>a. Andel vindus- og dørareal av oppvarmet BRA [%] <…</p><p>b. Årsgjennomsnittlig temperaturvirkningsgrad for varmegjenvinner i ventilasjonsanlegg [%] <…</p>](https://knowt-user-attachments.s3.amazonaws.com/4d6a8a4c-39df-422d-831a-94d633b663fe.png)
(Introduksjonsoppgaver) Hvis man følger energitiltaksmetoden etter TEK17 §14-2 (2), hva er de generelle kravene til U-verdi:
- Yttervegg <…
- Tak <…
- Gulv <…
- Dør og vindu <…
a. Andel vindus- og dørareal av oppvarmet BRA [%] <…
b. Årsgjennomsnittlig temperaturvirkningsgrad for varmegjenvinner i ventilasjonsanlegg [%] <…
- Yttervegg < 0,18
- Tak < 0,13
- Gulv < 0,10
- Dør og vindu < 0,8
a. < 25 [%]
b. > 80 [%]
![<p>- Yttervegg < 0,18</p><p>- Tak < 0,13</p><p>- Gulv < 0,10</p><p>- Dør og vindu < 0,8</p><p></p><p>a. < 25 [%]</p><p>b. > 80 [%]</p>](https://knowt-user-attachments.s3.amazonaws.com/bab5ddcf-307b-4118-af87-caf14f7471eb.png)

(Introduksjonsoppgaver: bank) Figuren viser to ulike løsninger for tettesystem. Hvilket alternativ angir riktig benevnelse for tettesystemene?
Begge figurene angir to-trinns tettesystem


(Introduksjonsoppgaver: bank) Hvilke(t) av utsagnene om klima er korrekt?
Graddagtallet brukes i forbindelse med frostsikring av bygninger


(Introduksjonsoppgaver: bank) Det er ingen krav i TEK/byggteknisk forskrift til varmeisolasjon i etasjeskiller mellom oppvarmede rom. Hva er noen av grunnene til at det likevel anbefales?
Bedrer lydisolasjonen, gjør slukningsarbeidet lettere i tilfelle brann og gjør det lettere å ha forskjellig temperatur i forskjellige rom.


(Introduksjonsoppgaver: bank) Hvilke av følgende eksempler kan forårsake bygningsskader? (flere kan være korrekt)
Møbler plassert inntil yttervegg
Åpne ildsteder med mangelfulle trekkforhold


(Introduksjonsoppgaver: bank) Hva menes med varmetapstall?
Varmetransportkoeffisienten for transmisjon, infiltrasjon og ventilasjon dividert på oppvarmet del BRA.


(Materialparing) Koble rett materiale med tilhørende materialstruktur


(Materialer: bank) Materialer som isolerer godt har:
Lav varmekonduktivitet - ⁁-verdi


(Materialer: bank) Ved vurdering av miljøegenskaper bør man vurdere:
Energibruk for å produsere materialet, gjenvinnbarhet, levetid


(Materialer: bank) Hva er sant når det gjelder stål
Mister både fasthet og stivhet ved høye temperatur


(Materialer: bank) Hva er sant når det gjelder rustprosessen i stål
Avfukting reduserer tempoet av rustprosessen


(Materialer: bank) Betongoverdekning:
skal sikre nødvendig beskyttelse for armering


(Materialer: bank) Armering er nødvendig i betongen:
For å tåle strekkreftene


(Materialer: bank) Hva er de tre hovedbestanddelene i gran og furu?
Cellulose, Lignin og hemicellulose/sukkerarter


(Materialer: bank) Treets fasthet øker med:
Minkende årringbredde


(Materialer: bank) Hva er forholdet (ca) mellom krymping av tre i de ulike retningene: parallelt, radielt og tangentielt?
1:10:20


(Materialer: bank) E-modul kan brukes for å finne
Deformasjoner av materialet


(Materialer: bank) Mineralull er en fellesbetegnelse for to ting. Hva er disse to tingene framstilt av?
Varmet borsilikatglass
Smeltet stein


(Materialer: bank) Vi har to hovedtyper mineralull: Hva heter disse to typene, og hva er de vanligste formene?
Steinull og glassull. Leveres som matter og plater, men kan også leveres som løsfyll for innblåsing


(Materialer: bank) Trevirke har både fordeler og ulemper som byggemateriale. Hvilken påstand under er riktig?
Tre har bedre varmeisolerende egenskaper enn betong, mur og metall


(Materialer: bank) Hvilken av følgende parametre har størst innvirkning på et gitt materialets likevektsfuktinnhold og vanlige bruksforhold?
Luftens relative fuktighet


(Materialer: bank) Hvilket utsagn nedenfor er feil?
Dimensjonsendringer i trevirke påvirkes mer av temperaturendringer enn av fuktvariasjoner


(Materialer: bank) Hva menes med at et materiale er hygroskopisk?
At materialet trekker til seg fuktighet i form av vanndamp fra omgivelsene


(Materialer: bank) Hvilken av kurvene angir stål?
Kurve b (den spisse)


(Materialer: bank) Hvilken av figurene illustrerer fibermetningspunktet for tre?
B


(Materialer: bank) Hvilken av situasjonene har størst trykkfasthet?
B


(Materialer: bank) Hvilken funksjon har sementen?
Den skal binde sammen alle ingrediensene


(Materialer: bank) Hvilken av følgende metoder nevnt under er mest effektiv for å redusere CO₂-utslipp fra betongproduksjonen?
Reduksjon av sement som brukes i oppskriften


(Materialer: bank) Hva slags materiale er spikerplater laget av?
Beslaget er laget av varmforsinkede stålplater 1,5 til 4,0 mm tykkelse


(Fundamentering) Hvilke to av disse kan være årsak til at det oppstår setninger i løse jordmasser?
Synkende grunnvannstand
Begynt å parkere nærmere huset enn tidligere


(Fundamentering) Du prosjekterer et hus med full kjeller, med oppholdsrom. Må yttervegg mot terreng isoleres på utsiden?
Må ikke, men veggen skal oppfylle krav i TEK17 til U-verdi/energieffektivitet
Hvis du isolerer bør du ha 2/3 av isolasjonen på utsiden, og 1/3 på innsiden


(Fundamentering) Hvor skal du ikke legge radonsperren
Under parkett, ut mellom dampsperre og vindsperre


(Fundamentering) Hva kan du med faglig sikkerhet si om veggen på dette bildet?
Det er for langt mellom stabiliserende bærevegger
Jordtrykket har vært høyere enn styrken i veggen


(Fundamentering) Hva benyttes frostmengden til ved oppføring av bygg?
Ved dimensjonering av frostsikre bygningskonstruksjoner


(Fundamentering) Hva er det som gjør at ekstrudert polystyren (XPS) egner seg til frostsikring ved fundamentering?
Den har lukket porestruktur og gode fukttekniske egenskaper


(Fundamentering) Hvilken fundamenteringstype kan bedre tilfredsstille kravet på bygning på myrområder?
Åpen fundamentering på pilarer eller pæler


(Fundamentering) Hva angir begrepet “frostmengde”?
Frostmengden angir temperaturdifferansen mellom frysepunktet og middeltemperaturen på stedet. Angis i timegrader.


(Markisolasjon)
b=300, B=600


(Markisolasjon)


(Markisolasjon)


(Vegg) Hvilke av disse passer til beskrivelsen faguttrykket “to-trinns tetting”?
Takstein + undertak
Kledning + vindsperre
Vindusbeslag + fuging


(Vegg: bank) “Veggen skal være utført slik at den forhindrer spredning av brann og branngasser til andre brannceller i den tid som er nødvendig for rømning og redning”.
Hvilken type vegg er dette?
Branncellebegrensende vegg


(Vegg: bank) På utsiden av kjellervegg mot terreng velger du å isolere med?
EPS


(Vegg: bank) Hva er minimums tykkelse på utlekkinga (lekten) for liggende kledning for å oppnå tilstrekkelig lufttett og drenert hulrom bak kledningen?
18-23 mm


(Vegg: bank) Imellom hvilke sjikt i en standard yttervegg (trehus) skal dampsperren monteres?
Mellom isolasjon og krysslagt utlekting/påforing


(Vegg: bank) Hva er funksjonen til dampsperra?
Den skal danne et lufttett sjikt på innsiden av ytterveggen for å hindre luftlekkasjer, og samtidig være tilstrekkelig tett mot vanndampdiffusjon.


(Vegg: bank) Du skal prosjektere en skillevegg mellom to boenheter. Brannkravet er EI30, og lydkravet er Rw=55dB.
Hvilken av følgende vegger tilfredsstiller dette kravet?
Dobbelt lag gips på begge sider, doble 68 mm trestendere med 30 mmm mellomrom, med 70 mm isolasjon på hver side.


(Vegg: bank) Hva er funksjonen til en bunnsvill?
Den har som funksjon å feste bygget til grunnmuren


(Vegg: bank) Imellom hvilke sjikt i en standard yttervegg (trehus) skal vindsperren monteres?
Mellom isolasjon og luftlektene


(Vegg: bank) Hvilke utsagn nedenfor er korrekt?
En dampsperre skal legges på varm (som oftest innvendig) side av bygningskroppen


(Vegg: bank) Hovedgrunnen til lufting av kledning er:
Sikre uttørking av vegg


(Etasjeskillere: bank) TEK17 stiller krav til etasjeskillere mellom ulike boenheter.
Hvilket av disse kravsområdene må tas hensyn til?
Styrke, stivhet og lyd-gjennomgang


(Etasjeskillere: bank)
Vekselbjelke


(Etasjeskillere: bank)
45 × 250 mm I-bjelke


(Etasjeskillere: bank)
OSB- og sponplater


(Etasjeskillere: bank) Hva er ulempen med trebjelkelag sammenliknet med betong som bærekonstruksjon på etasjeskillere i trehus?1
Gir dårlig lydisolering og større muligheter for rystelser eller vibrasjoner


(Etasjeskillere: bank) Finnes det noen standard avstand mellom bjelker, stendere og lignende i trehus?
c/c 600 mm


(Etasjeskillere: bank) Hvilken av følgende påstander er riktig?
Himlingen må være tilstrekkelig myk og tung


(Etasjeskillere: bank) Et gulv kan bygges opp på flere måter, og flytende gulv brukes i bestemte sammenhenger. Når brukes flytende gulv?
For å unngå trinnlyd


(Etasjeskillere: bank) Hvilken av disse etasjeskillerne gir best luftlydisolasjon mellom leiligheter?
Du kan forutsette at alle har en tykkelse på 250 mm.
Massivt betongdekke


(Bjelkelagsplan) Angi dimensjon på den markerte bjelken
I-bjelke 45 × 45 flenser, 350 mm

(Bjelkelagsplan) Angi dimensjon på den markerte bjelken
C18, 48 × 198 mm


(Tak: bank) Minst mulig fall på tak er lik:
1:40


(Tak: bank) Skråstivninger brukes:
For å sikre at takkonstruksjonen kan overføre skjevbelastninger


(Tak: bank)Tre-forbindelser mellom tak og vegg må være dimensjonert for å tåle strekkreftene som kommer fra:
Vindlaster


(Tak: bank) Hvilke(n) av disse utsagnene er korrekt om undertaket?
Undertaket skal fange opp og drenere ut regnvann og smeltet snø som trenger inn under f. eks. opplektet taktekning, som takstein
Undertaket kan være enten produkt på rull eller plateprodukt


(Tak: bank) Hva slags to formål har lufting mellom taktekningen og varmeisolasjonen?
Å fjerne fukt og holde lav temperatur på takflaten


(Tak: bank) Hva er spesielt viktig å tenke på dersom en takstol monteres med inntrukket opplegg?
Det må plasseres en ekstra stav eller annen forsterkning over opplegget


(Tak: bank) Hva er den rette rekkefølgen på oppbygning av et tak? Fra øverst til nederst
Taktekning, lekt, sløyfer, vindsperre, undertak, isolasjon, taksperrer/I-bjelker, dampsperre, lekt, himling


(Tak: bank) Bildet illustrerer en typisk uønsket situasjon for et nybygg. Hva kan bære sannsynlige årsaker til at det har blitt slik?
Manglende utlufting


(Tak: bank) Hvilke(t) utsagn om kompakte tak er korrekte?
Kompakte tak er ikke ventilert mellom taktekking og varmeisolasjon
Varmegjennomgangen i kompakte tak gjør at snø vil smelte


(Tak: bank) Hva kjennetegner et kompakt tak?
Kompakt tak består av ett eller flere lag som ligger så tett sammen som praktisk mulig


(Tak: bank) Hvilke av følgende tak må ha taktro av bord eller plater?
Asfaltshingel
Torvtak
Båndtekning


(Sperretak) Materiale og dimensjon på sperretak på hytte i Gjøvik kommune
I-bjelke 350 (eller) Limtre 250 (eller) C30 73×223


(Sperretak) Materiale og dimensjon på sperretak på sjøbu i Ålesund kommune
I-bjelke 250 (eller) Limtre 250 (eller) C18 73×223 (eller) C24 48×223


(Sperretak) Materiale og dimensjon på sperretak på hytte i Trondheim kommune
I-bjelke 350 (eller) Limtre 300


(Spesialrom) Du skal bygge bad. Hvilke tre av disse er det stilt spesifikke krav til i TEK17?
Badet skal ha sluk på gulv, gulvet skal ha fall (på deler av gulvet) mot sluk
Synlig lekkasje
Snusirkel (>1,5m) foran toalett på minst ett bad i boenheten


(Spesialrom) Du har bestemt deg for å flislegge veggene på badet. Hvilke(n) av disse oppbyggingene kan du bruke og fremdeles få en god løsning?
Stendere c/c 600, dobbel platekledning, smøremembran, ikke dampsperre
Stendere c/c 300, enkel platekledning, smøremembran, ikke dampsperre


(Spesialrom) Hvor stor må den samlede bredden på våtsonen minst være i mm, uten at badekar og vask tas med, for at badet skal oppfylle kravene i TEK17?
3000 mm


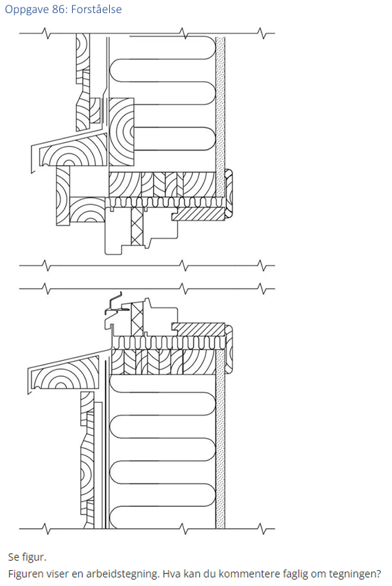
(Forståelse) Figuren viser en arbeidstegning. Hva kan du kommentere faglig om tegningen?


(Forståelse) Figuren viser en arbeidstegning. Hva kan du kommentere faglig om tegningen?


(Forståelse) Figuren viser en arbeidstegning. Hva kan du kommentere faglig om tegningen?


(U-verdi) En yttervegg tenkes oppbygget av kun massivtre. Termisk konduktivitet til tre er 0,115 W/mK. Hva blir omtrentlig tykkelse av denne veggen for at den skal oppfylle kravet til U-verdi i henhold til teknisk forskrift? 250, 450, 550, 650 eller 800 mm?
650 mm
Formelen for U-verdi for en homogen vegg er:
U = λ / d
λ er varmekonduktiviteten (her 0,115 W/mK)
d er tykkelsen i meter
For å finne nødvendig tykkelse for å oppnå U-verdi 0,18 W/(m²K):
d = λ / U = 0,115 / 0,18 ≈ 0,64 m = 640 mm
Derfor må veggen være omtrent 650 mm tykk for å oppfylle kravet.


(U-verdi) Gitt at en yttervegg har en total varmemoststand på 5,0 m2K/W.
Hva blir da veggens U-verdi uten at man tar hensyn til noen form for tillegg?
0,2
For å finne U-verdien til en yttervegg når du kjenner total varmemotstand (R), bruker du formelen:
U = 1 / R
Dersom total varmemotstand er 5,0 m²K/W, blir U-verdien:
U = 1 / 5,0 = 0,20 W/(m²K)


(U-verdi) For en veggkonstruksjon på 120 m2 med en gjennomsnittlig U-verdi på 0,24 W/m2K er det en temperaturforskjell på 45 grader C en kald vinterdag.
Hvor stor blir varmestrømmen gjennom denne veggen denne dagen?
1296
For å beregne varmestrømmen (varmetapet) gjennom en vegg, bruker man formelen:
Q = U × A × ΔT
Q = varmestrøm (W)
U = U-verdi (W/m²K)
A = areal (m²)
ΔT = temperaturforskjell (K eller °C)
I ditt tilfelle:
U = 0,24 W/m²K
A = 120 m²
ΔT = 45 K (grader Celsius og Kelvin er likt for temperaturdifferanser)
Regnestykket blir: Q = 0,24 × 120 × 45 = 1 296 W
Det vil si at varmestrømmen gjennom veggen under disse forholdene er 1 296 watt.


(U-verdi: bank) Hvilken av utsagnene under er den mest riktige beskrivelsen av U-verdi?
U-verdien angir hvor mye varme som går gjennom en bygningskonstruksjon med et areal på 1m2 når lufta på hver side har en temperaturdifferanse på 1 grad C.


(U-verdi: bank) Hva regnes vanligvis ikke som en kuldebro?
Glassflaten i et vindu


(U-verdi: bank) Hva er feil av følgende utsagn om kuldebroer?
Rett på utsiden av en kuldebro vil overflatetemperaturen være lavere enn for resten av overflaten (for vintersituasjon)


(Varme) Koble beskrivelsen/kjennetegn til rett begrep


(Varme) Beregn veggens U-verdi
0,20


(Varme) Regn ut U-verdien i "W/m2K, og angi denne med to desimaler uten benevning.
0,59


(Varme) Hva blir høyeste U-verdi takkonstruksjonen kan ha for å oppfylle forskriftens krav?
0,10


(Fukt) Koble forklaring til rett begrep


(Fukt) Drivkraften for fukttransport ved diffusjon er:
Forskjell i vanndamptrykk


(Fukt) Luft med temperatur 23 grader C og 40% RF har følgende duggpunktstemperatur:
ca 9 grader C
