1/39
Name | Mastery | Learn | Test | Matching | Spaced | Call with Kai |
|---|
No analytics yet
Send a link to your students to track their progress
kracht elektrisch veld
E = F/q0
F = E*q0
stilstaande ladingen
kracht bij magnetisch veld
F = q0vB*sin
met B = magnetische veldvector
enkel op bewegende deeltjes!
rechterhandregel
duim; F
middelvinger; B
I of v; wijsvinger

centripetale versnelling bij homogeen magnetisch veld
a = q0vB*sin / m
want F = ma → a = F/m
straal cirkelvormige beweging
r = mv / q0B
want a = v²/r = q0vB*sin / m
massaspectrometer
m = rq0B/v

samenvattende formule
a = F/m = q0vB/m = v²/r
kracht op elektron
Fe = evB
rechterhandregel
F protonen; naar boven
F elektronen; naar beneden, maar negatieve lading dus kracht omdraaien

magnetische kracht op elektrische stroom
F = Il x B
met l = verplaatsingsvector; zelfde zin als stroom
en B = magnetische veldvector [T(esla)] = [N/Am]
krachtmoment uitgeoefend door magnetisch veld op stroomkring (bew)
F = IlBsin
τ = rFsin = rIlBsin
S = ab = opp v/h raam
sin(90+θ) = kleinste hoek draaiend van b naar B

magnetisch dipoolmoment-vector (μ)
μ = NIS
met N = #windingen; I = stroom; S = opp.
loodrecht op vlak spoel; kurkentrekkerregel

elektrisch dipoolmoment vs magnetisch dipoolmoment
ELEKTRISCH | MAGNETSICH | |
GROOTTE | p = 2aq met 2a = afstand tussen ladingen | |µ| = NIS |
RICHTING | volgens verbindingslijn v/d ladingen | ⊥ op vlak spoel volgens nn’ |
ZIN | van -q naar +q | regel kurkentrekker bij draaiende beweging volgens stroomrichting Z → N |
krachtmoment (τ) geschreven adhv magnetisch dipoolmoment-vector (μ)
τ = NISBsin = μBsin = µ x B
zorgt voor rotatie raam tot μ // B en zelfde zin heeft


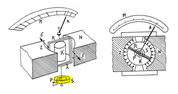
galvanometer
τ = μB = NISB = kθ met k = torsieconstante v/d spiraalveer
=> I = kθ / NSB


ampèremeter
Itot = Im (1+Rm/Rsh)
shuntweerstanden
in serie

junctietheorema Kirchoff
'De som van stromen die in een knooppunt van een elektrisch netwerk samenkomen is gelijk aan de som van stromen die van het knooppunt vertrekken'

voltmeter
VA - VB = U = RIm (wet v Ohm)
grote gekende weerstand
in parallel

magnetisme op atomair niveau
spin magnetisch moment (μs)
e- en atoomkernen draaien rond eigen as; +½ of -½
baan magnetisch moment (μl)
e- draaien rond atoomkern
heffen elkaar meestal op, maar soms ook niet waardoor atomen een netto magnetisch dipoolmoment (µ) hebben

netto dipoolmoment
neemt toe bij stijgend veld
neemt af bij toenemende temp.

ferromagentisme
Fe, Co, Ni, Gd, Dy
Weisz - gebieden
zonder in magneetveld gebracht te zijn, zijn deze stoffen niet magnetisch = paramagnetisme
als je magnetische veld weghaalt blijven deeltjes zo gericht = remanent magnetisme; tenzij temperatuursverhoging

veldlijnen magneet
binnen; Z → N
buiten; N → Z

magnetisch veld (2 manieren)
op atomair niveau
bewegende lading (=stroom) door geleider
magnetisch veld bij rechte geleider
rechterhandregel waarbij je I (duim) kent
formule + cte op formularium


magentisch veld bij solenoïde / spoel
rechterhandregel waarbij je B (duim) kent
buiten solenoïde; B = 0
binnen solenoïde; B = cte onafhankelijk van de diameter en de lengte zolang de diameter klein is t.o.v. de lengte

MRI (toep)
zie andere flashcards + notes
magentisch veld bij toroïde / solenoïde omgebogen tot torus
B niet constant over de doorsnede van de toroïde
B daalt bij toenemende afstand r

elektromagnetische inductie
veranderend magnetisch veld, verandering in flux, kan een elektrische stroom opwekken (zie experiment v Faraday)
eerder gezien;
elektrische stromen wekken een magnetisch veld op
magnetisch veld oefent een kracht uit op een elektrische stroom; F = IlBsin
magnetische flux (ΦB)
maat voor het aantal magnetische veldlijnen door een bepaald opp. S
ΦB = BScos
[Wb] = [Tm²]

(inductie-)wet v Faraday
“door een veranderend magnetisch veld (=verandering in flux) wordt in elke gesloten keten een EMK geïnduceerd die gelijk is aan het tegengestelde van het tempo waarmee de magnetische flux door de gesloten keten verandert”
indien geen spoel; N = 1
indien wel spoel; N = #windingen
[V] = [Wb]/s
![<p>“door een veranderend magnetisch veld (=verandering in flux) wordt in elke gesloten keten een EMK geïnduceerd die gelijk is aan het tegengestelde van het tempo waarmee de magnetische flux door de gesloten keten verandert”</p><ul><li><p>indien geen spoel; N = 1</p></li><li><p>indien wel spoel; N = #windingen</p></li></ul><p>[V] = [Wb]/s</p>](https://knowt-user-attachments.s3.amazonaws.com/7635542c-6692-41f9-95ec-1cfa74b425ac.png)
wet v Lenz
“door een veranderend magnetisch veld (= verandering in flux) wordt een stroom geïnduceerd die de fluxverandering tegenwerkt”
gekend; oorspronkelijke veldlijnen (B) v/d magneet, nl v. Z → N in magneet
naderen magneet; fluxverandering
geïnduceerde stroom (I) die fluxverandering tegenwerkt
geïnduceerde veldlijnen (B) met rechterhandregel

samenvatting
fluxtoename; tegenwerken
Iind = tegengesteld aan Ioorspr
andere pool dan naderende pool gecreëerd
fluxafname; meewerken
Iind = Ioorspr
zelfde pool als naderende pool gecreëerd

manieren om EMK op te wekken in een spoel in een magnetisch veld (3)
door verandering van het magnetisch veld B
door verandering van de oppervlakte door de lus in het veld
door verandering van de oriëntatie van de lus tov het veld
conclusie; verandering in flux → EMK
omzetting van mechanische energie naar elektrische energie via het inductieverschijnsel (bew)

elektrische generatoren (toep)
potentiaalverschil tussen A en B volgt een sinusoïdaal verloop; wisselspanning

niet-invasieve neurostimulatie (toep)

zelfinductie (L)
= inductieverschijnsel in één enkele spoel
wet Faraday; ε = - N(dΦB / dt) met NΦB = LI
ε = - L * (dI/dt)
L = -ε / (dI/dt)
[H(enry)] = [Vs/A]
zin geïnduceerde EMK (εind)
veranderend magnetisch veld → geïnduceerde EMK → beïnvloedt stroom; probeert elke verandering in de stroom tegen te werken; wet v Lenz

zelfinductie van een solenoïde (bew)
NΦB = LI
met ΦB = B*S = µ0In * S
met n = N/l → N = nl
nl * µ0nI * S = LI
L = µ0n²l S = µ0n² V
zelfinductie van een solenoïde (toep)
L = μ0 n² l S
l S = volume
n = #windingen / lengte

samenvatting
