1/24
Looks like no tags are added yet.
Name | Mastery | Learn | Test | Matching | Spaced | Call with Kai |
|---|
Celluloid and Mylar strip

automatrix

T-band matrix

sectional matrices

celluloid, mylar
_________and ______are names for a plastic strip that is used to provide a temporary wall for the restoration of an anterior tooth
overhang
improper placement of the wedge can cause excess restorative material to extend beyond the cavity margin, resulting in an _____________
cupping
is a term used when restorative material becomes concave from improper wedge placement and not being contoured properly
wedges

wedge
is placed in the embrasure of a class II, III or IV preparation to provide the contour needed when being restored.
matrix band
acts as a temporary wall for a tooth structure during restoration of the proximal contours and contacts to their normal shape and function
sectional matrix
is a small, oval matrix system made of a polished stainless steel that can be used for posterior amalgam and composite materials
automatrix system
is matrix system designed to establish a temporary wall without the use of a retainer
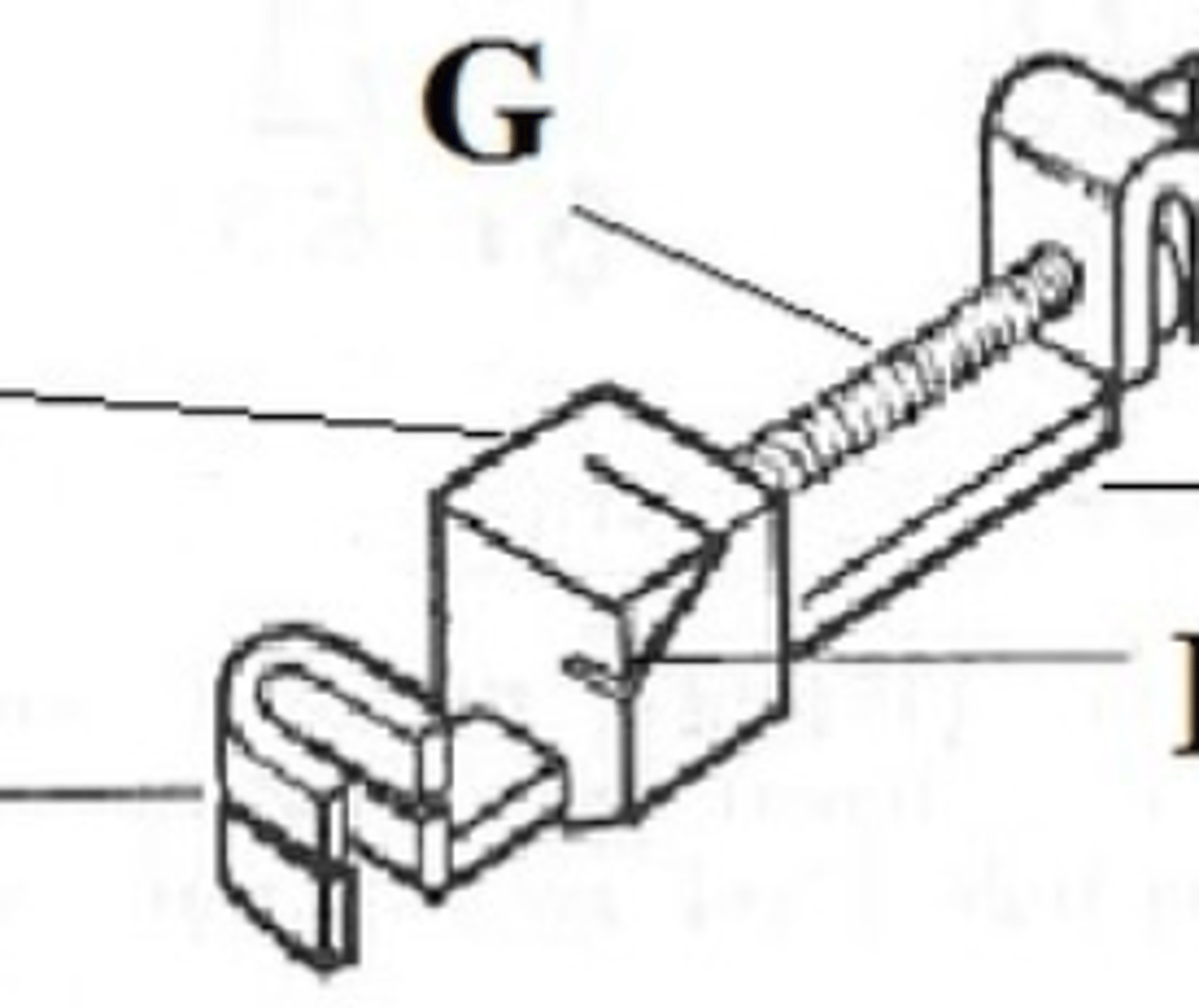
tofflemire retainer
is commomnly used to hold a matrix band in place during a class II restoration

class II
which classification would require the use of a matrix system?
a. I
b. II
c. V
d. VI
matrices
the plural word of matrix is___________
gingival
in what direction is the smaller circumference of the posterior matrix band positioned when placed properly?
occlusal
in what direction is the larger circumference of the posterior matrix band positioned when placed properly?
burnisher
which instrument would be selected to thin and contour a matrix band positioned when placement?

retraction cord
what additional item is placed in a posterior matrix system to reestablish proper interproximal contact of the newly placed material?
autoMatrix
which would be an alternative to the universal retainer/matrix system?
Outer knob (tofflemire)
used to tighten or loosen the spindle within the diagonal slot; this holds the matrix band securely in the retainer

Inner Knob (tofflemire), largest size
used to increase or decrease the size of the matrix band loop, when placing the band over the tooth, the size of the loop circumference should be the _____________ and then tightened after placement

spindle
internal screwlike pin that fits into the diagonal slot to secure the ends of the matrix band

diogonal slot, gingiva
the main body of the retainer that is used to position the ends the matrix band into the vise, the retainer is always positioned in the mouth with this slot facing toward the _________________

Guide slots
slots used to position the matrix band for either the left or the right quadrant