1/129
Name | Mastery | Learn | Test | Matching | Spaced | Call with Kai |
|---|
No analytics yet
Send a link to your students to track their progress
Buildings are responsible for approximately _____% of the total US carbon emissions:
40%
Since the 1950’s, building form changed from thin floorplans (“alphabet buildings”) to deep floorplans. What technologies were key factors to impacting this change?
Florescent lighting, curtain wall technology, large scale mechanical cooling
what is Mean Radiant Temperature?
the uniform surface temperature of an imaginary enclosure in which an occupant would exchange the same amount of radiant heat as in the actual non-uniform space
What is dew point temperature
the temperature at which air becomes saturated with moisture and water vapor begins to condense into liquid.
what are key components of indoor environmental quality?
indoor air quality, lighting/daylight, acoustics, thermal comfort
what and where are the variables on a psychrometric chart?
dry bulb temperature, absolute humidity, wet bulb temperature, relative humidity

which factors affect a materials ability to transfer heat?
thermal capacity and thickness
thermal mass should be exposed to:
indoor air
best climate for passive cooling and heating using thermal mass
high diurnal temperature
what factors most strongly affect time lag of thermally massive materials?
heat capacity, absorptivity, thermal conductivity
latent heat
the heat absorbed or released during a phase change without a change in temperature
sensible heat
heat you can feel, measured by a change in temperature
Water can store approximately _____ times more thermal energy per unit volume than air
3000
Which is the percentage of solar energy in the visible range?
43%
clear glass is ___ to shortwave
transparent
clear glass is ____ to longwave
opaque
thermal bridge is
a relatively thin cross-section of high conductivity material
In a hot climate such as Phoenix, AZ, a white roof would stay cooler because its shortwave (SW) and longwave (LW) properties are:
High reflectivity of SW radiation & high emissivity of LW radiation
perfect dissipater
absorbs zero shortwaves and emits all longwaves
black body
absorbs all shortwaves and emits all longwaves
white body
absorbs zero shortwaves and emits zero shortwaves
perfect collector
absorbs all shortwaves and emits zero longwaves

where are white paint, black paint, and polished aluminum foil on this graph?

Color only affects ______
color only affects short wave absorption
what are the most effective cooling strategies in a hot/dry climate?
Earth-sheltered cooling, night-sky radiative cooling, evaporative cooling, heavy mass with nighttime ventilation
At any given time, the position of the sun in the sky can be described by:
Azimuth & Altitude
(T/F) A sun path diagram is designed so that a single diagram can be applied to any latitude
false
Which of the following surfaces of a building in Berkeley would receive the greatest amount of total solar radiation over a clear summer day?
A horizontal roof
What is luminance?
The amount of light reflected by a surface/leaving a surface (L = luminance = leaving)
what is illuminance?
amount of light falling onto/incident on a surface (i = illuminance = incident)

Which type of shading device is best represented by this Shading Mask?
just wall

Which type of shading device is best represented by this Shading Mask?
infinite overhang

Which type of shading device is best represented by this Shading Mask?
fixed length overhang

Which type of shading device is best represented by this Shading Mask?
infinite vertical fins

Which type of shading device is best represented by this Shading Mask?
fixed length vertical fins

Which type of shading device is best represented by this Shading Mask?
egg crate

Which type of shading device is best represented by this Shading Mask?
louvers

Which type of shading device is best represented by this Shading Mask?
screen
what are some common sources of air pollution inside of builidngs?
paint, humans, vinyl flooring, combustion, furnishing, HVAC, wet/damp areas
(T/F) Natural ventilation is always more sustainable and safe than mechanical ventilation
false
ASHRAE Standard 62.1, the criteria for acceptable indoor air quality are:
1) there are no contaminants at harmful concentrations and 2) the substantial majority of the people do not express dissatisfaction.
higher MERV rating means:
filter has a higher effectiveness of removing particles
(T/F) It is well documented that if you have enough plants to clear the air, you can eliminate ventilation
false
(T/F) The human auditory system is equally sensitive to all frequencies.
false
frequency is:
pitch, how many waves travel in one second, measured in Hz (hertz)
apmplitude is:
volume/loudness
sound power:
total sound produced by a source, unit: watts (W)
sound pressure
local pressure deviation from atmospheric pressure caused by a sound wave. units: pascals (Pa)
rule for sound pressure level depletion (inverse square law)
sound pressure level decreases by 6 dB per doubling of distance from the source
average human frequence range:
20-20,000 Hz
human sound threshold
0 dB
human pain threshold
140 dB
human intelligbility reveberation time
0.5 sec
reveberation
how long it takes for sound to decay 60 dB below the level of direct sound
Why do thermally activated building systems (TABS) have a slower thermal response compared to panel radiant systems?
They are embedded in a large thermal mass
In a displacement ventilation system, where is the supply air typically introduced?
floor level
Displacement ventilation is best suited for which type of indoor environment?
Classrooms and offices with sedentary occupants
Which of the following is NOT a good way to minimize COVID-19 infectious risk in buildings?
Minimize outdoor air flow rate
A commercial building operates a chilled water system that produces cold water at night and stores it in a thermal tank for use during peak hours. What energy strategy is this an example of?
Load shifting
Why are cooling towers typically placed on the roof of large buildings?
To enhance airflow and maximize heat rejection efficiency
what type of building mass is best for ideal daylighting in mild climates?
thin mass and narrow plans (case study: David and Lucile Packard Foundation Headquarters)
____ spacing between studs allows for more insulation
wide
what ventilation strategy does the Commenzbank in Germany use?
ventilated double skin facade
what is EUI?
(energy use intensity) how much energy is used for an area per year
dry bulb temperature:
air temperature as displayed on a thermometer (temperature of air measured by a thermometer freely exposed to the air but shielded from radiation and moisture)
dew point temperature
The temperature at which moist air becomes saturated with water vapor (condensation) when cooled at a constant pressure (100% relative humidity).
wet bulb temperature
The air temperature measured by slinging two thermometers through the air side-by-side. One of these thermometers, is covered with a wet cloth.
humidity ratio/absolute humidity
how much vapor is in the air, a measure of the amount of moisture by weight within a given weight of dry air
relative humidity
how saturated air is with moisture at certain temepratures, unit: percent
microclimate
A distinctive climate that is caused by interactions of the local site conditions with the larger macroclimate
enthalpy
total heat content of air (sensible heat + latent heat)
adiabatic change
a change of heat (sensible to latent, or latent to sinsible) in which enthalpy remains the same
In what range of wavelengths would a black painted roof perform similarly to a white painted roof?
Longwave radiation since color does not affect longwave emission.

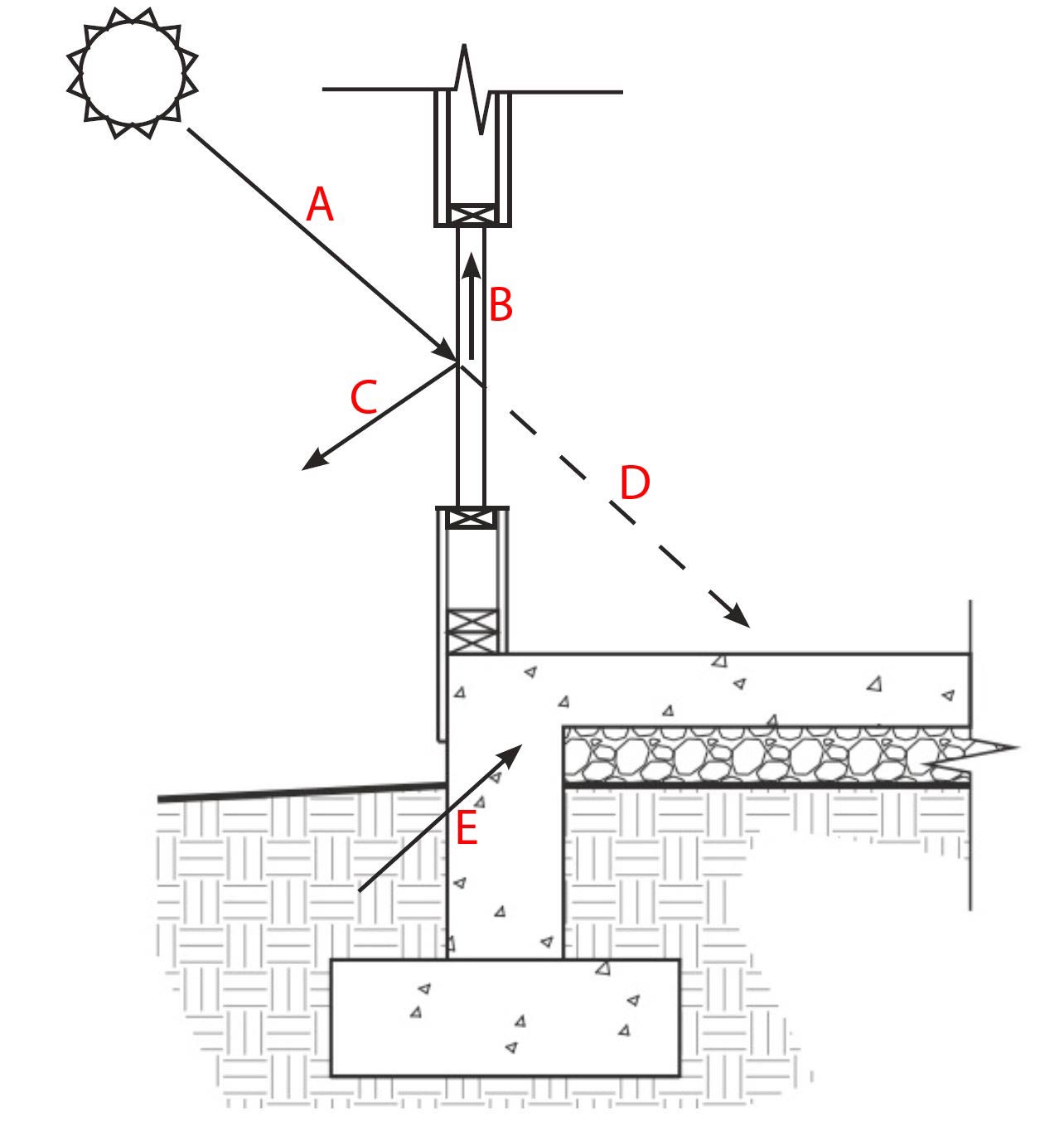
identify each heat exhcange

polished aluminum is more like:
white body
Spectrally Selective Black Coating is more like:
perfect collector
white paint is more like:
perfect dissipater
black paint is more like:
black body
roofing tar is more like:
black body
When would the conditions exist to allow the black and white roof to perform similarly?
During the night, when no shortwave radiation is present, and both lose heat similarly through longwave radiation to the night sky
In what range of wavelengths would a white painted surface perform most similarly to a polished aluminum surface?
Shortwave radiation since both have low Solar Absorptivity and have high Solar Reflectivity.
What materials in urban buildings do you think contributes to the heat island effect?
Dark materials, such as asphalt shingles, dark rubber roofs, and asphalt, absorb SW radiation
How would you change urban building materials to reduce the heat island effect?
Allow for the planting of vegetation to provide cooling through evapotranspiration
Use lighter, reflective surfaces such as white roofs to reflect shortwave radiation
Use less concrete or other high thermal mass materials so that buildings cannot store as much heat
Provide shading of highly absorptive materials to prevent absorption of shortwave radiation
You are trying to decide which window assembly to specify for a project based on the window frame. Should you base your decision on the window assemblies' solar heat gain coefficients (SHGC) or shading coefficients (SC)?
Solar Heat Gain Coefficient
What is the solar heat gain coefficient (SHGC) through an open window?
1
If the Heating Degree Day (HDD) for a climate is 72°C-day, how many days of the year do we need heating?
We can’t tell from the information given
What is a degree day?
when the average outdoor temperature for one day is one degree lower than the balance point temperature
heating degree day:
when the outside temperature falls below the balance point and requires heater use
cooling degree days
when the outside temperature is above the balance point and requires AC use
U factor of single pane
5.7
which gas has higher U-factor for double pane windows: air, argon, or krypton?
air
Which heating method would result in the lowest carbon emissions
Heat pump
On what days of the year is the solar declination zero?
Fall equinox, Spring equinox
the sun will never set on the ___
North Pole
what is Berkeley highest altitude:
51 + declination
highest altitude of tropic of cancer:
67 + declination

label the parts of a sun path diagram

What units are illumance measured in?
lux and footcandle
What units are luminous flux measured in?
lumen