1/54
Looks like no tags are added yet.
Name | Mastery | Learn | Test | Matching | Spaced | Call with Kai |
|---|
No study sessions yet.
Are thermoplastics reusable or not?
Typically can be recycled because you heat the plastic but molecularly is still the same. (Using heat to put it into a plastic state).
Are thermoset plastics reusable or not?
Chemically set–not recyclable.

Extrusion

In the extrusion, where is the hopper?

In the extrusion, where are the heating bands?

In the extrusion, where is the die?

In the extrusion, where is the screw?

In the extrusion, where is the barrel?


Injection Molding

In the injection molding, where is the hopper?

In the injection molding, where is the reciprocating screw?

In the injection molding, where are the heating bands?

In the injection molding, where is the barrel?

In the injection molding, where is the split mold?

In the injection molding, where are the ejector pins?


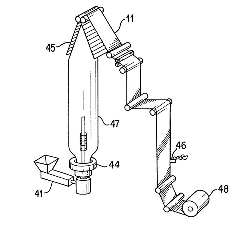
Blown Film

Where in blown film is the extruder?


part 41
Where in blown film is the ring die?


Part 44
Where in blown film is the Plastic film?


Part 47

Extrusion blow molding

Where in Extrusion Blow molding is the Mold?


Part A
Where in Extrusion Blow molding is the extruded plastic tube?


the blue long thing/tube
Where in Extrusion Blow molding is the air blown into the tube?


Upper part of B: air is blown into the tubing causing it to expand filling the mold cavity.
Where in Extrusion Blow molding is the plastic tube pinched?


Bottom Part of B: plastic tube is pinched close forming the seam.

Injection blow molding
Where in Injection blow molding is the preform?


Part A
Where in Injection blow molding is the preform heated/softened?


Part B
Where in Injection blow molding is the Air blown into the preform to expand it and fill the mold cavity?


Part C
What are 5 advantages of plastics?
High corrosion resistance
Can be shaped into anything
Properties include being a good insulator of electricity and heat
Low energy to produce them
Low density

What material is this?
Carbon Fiber


What material is this?
Fiberglass


What material is this?
Kevlar

List 5 materials that are in typical car tires:
rubber,
carbon black,
polyester fabric,
cotton thread/cords,
steel cables.

vacuum/thermoforming
Where in vacuum thermoforming is the heated plastic sheet?

Where in vacuum thermoforming is the positive mould?

Where in vacuum thermoforming is the Vacuum pressure?

What is a common characteristic of all extruded things?
They have a uniform (continuous) cross section.

Rotational Molding


Dip Forming

List 3 advantages for the use of plastics:
Low density
High corrosion resistance
Insulator
Easily formed into complex shapes
Requires low energy to produce

What process was used to make this object?
Rotational Molding

What process was used to make this object?
Rotational molding

What process was used to make this object?
Injection Molding

What process was used to make this object?
Co-extrusion

What process was used to make this object?
Blown film

What process was used to make this object?
Extrusion

What process was used to make this object?
Thermoforming/Vacuum

What process was used to make this object?
Injection Molding

What process was used to make this object?
Injection Molding

What process was used to make this object?
Extrusion Blow Molding

What process was used to make this object?
Injection Blow Molding

What process was used to make this object?
Blown film

What process was used to make this object?
Extrusion

What process was used to make this object?
Dip Forming