1/135
Test 1+2 plus slide questions
Name | Mastery | Learn | Test | Matching | Spaced | Call with Kai |
|---|
No analytics yet
Send a link to your students to track their progress
What are characteristics of traditional building design strategies for hot and humid climates?
High ceilings and large windows to promote air movement, lightweight construction with low thermal mass to allow rapid cooling at night, and high vented gabled roofs with roof monitors for stack ventilation
What are the four methods of Radiant Heat transfer with materials?
Transmittance, Absorptance, Reflectance, Emittance
An architect is comparing traditional building forms for different climate zones. What is a correct pairing of building form and climate?
Open walls with porch - Very hot and humid climate

Referring to the Psychrometric Chart: Starting from the point at the intersection of the two arrows, what happens if you follow the line toward "D" until it reaches the line marked "100%"?
The air reaches Saturation
A building material has high resistance to heat flow. Which of the following statements is correct?
It has a high U-value and a low R-value
The Macroclimate of a site is influenced by all of the following: Elevation above sea level, Latitude, Vegetation, Site slope
False
One BTU (British Thermal Unit) is a:
Unit measuring the amount of energy required to raise 1 Pound of water 1 Degree Fahrenheit
(not resulting in a phase change)
An architect is explaining to a client how a sunspace or solarium can help heat a building during winter. How does the greenhouse effect make this possible?
Shortwave solar radiation passes through glass, is absorbed by indoor objects, and the longwave radiation emitted by those objects is trapped by the glass
What are the three types of heat?
Radiant Heat, Sensible Heat, Latent Heat
In most climates, __________ occurs on the Leeward side of a mountain range
less rain
What is Sensible Heat?
The random motion of molecules - the more of this motion within an object, the higher its heat

Referring to the Psychrometric Chart: Which principles of Heat Transfer lead to a shift in thermal comfort zone?
Increased Convection from air movement
True or False: At Solar Noon, the Sun is directly to South in the Northern Hemisphere
True
What is an energy plus building?
An "Energy-plus" building produces more energy than it consumes on an annual basis

What are the Altitude and Azimuth of the Sun at the time indicated by the black dot?
Azimuth = 250° and Altitude = 40°
Which of the following is not one of the ways heat is transferred?
Diffusion
Which term refers to the sun's height above the horizon?
Altitude
Tier 1 of Sustainable Design consists of which of the following:
Basic building design for heat retention, heat rejection, heat avoidance
A person sitting on a cold stone bench feels heat leaving their body through direct contact with the surface.
This method of heat loss is called ___________ .
Later, they stand up and notice a cool breeze making them feel colder. This heat loss through moving air is called ___________ .
They move closer to a cold wall and feel its coolness without touching it, which is heat loss through ___________ .
conduction / convection / radiation
The highest point of the sun on any given day
Solar Noon
What is not true of warm air?
it has less capacity for moisture
Which specific latitude lines mark the boundary beyond which locations experience at least one day with no sunset and one day with no sunrise?
Arctic and Antarctic Circles
Evaporation alters the perception of heat in a mass of air through which process?
Conversion of a Sensible Heat into Latent Heat
What are the four thermal environmental conditions?
Temperature, Relative Humidity, Air Movement, Mean Radiant Temperature

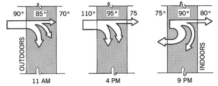
This diagram can be most accurately described to show:
Time Lag effect from the mass of material in a hot dry climate
A building designer is selecting materials for two different applications: a solar collector panel that needs to absorb maximum solar energy, and a roof in a hot climate that needs to stay cool under summer sun. What is a good combination?
Solar collector: Black surface / Roof: White surface
Which term refers to the sun's horizontal direction (compass direction)?
Azimuth
Which are the correct Fahrenheit values of 0º Celsius and 100º Celsius?
32º and 212º Fahrenheit

Referring to Solar Chart, the point marked “1” represents:
The position of the Sun at Solar Noon on the Summer Solstice
What is the primary property that causes large bodies of water to affect the microclimate of the adjacent land?
Thermal Lag

True or False: Because of its larger volume, the mass of air shown has the capacity to store more Thermal Energy than the mass of water shown.
False
Which ONE of the following correctly describes how urban areas with Urban Heat Island (UHI) effects differ from surrounding rural areas?
Urban areas have higher winter and summer temperatures, lower solar radiation, lower humidity, and lower wind speeds

Referring to Solar Chart, what are the approximate Altitude and Azimuth of the Sun at 9am on March 20th?
Altitude = 25°, Azimuth = 128°
True or False: There are exactly as many hours between Sunset and Solar Noon as there are between Sunrise and Solar Noon
True
A landscape architect is explaining to a client how planting trees and vegetation around a building can help cool the microclimate. Which ONE statement correctly describes how plants reduce air and ground temperatures?
Through transpiration, plants take water from the ground and release it as vapor through their leaves, creating a cooling effect
True of False: Sensible Heat is amount of heat needed to bring about a one-degree change in temperature which results in a Phase Change.
False
What correctly explains why deciduous trees are beneficial for passive solar heating and cooling in the northern hemisphere?
Deciduous trees lose their leaves in winter, allowing solar penetration, and grow leaves in summer, blocking unwanted sun

Referring to Solar Chart, Sunrise on March 20th is at approximately what time of day?
6 AM
Why was the concept of operative temperature developed for evaluating thermal comfort?
Because mean radiant temperature often differs from air temperature but both significantly impact comfort, so operative temperature combines them
Macroclimate and Microclimate
both have important effects on a site
Which are not characteristics of Vernacular Architecture?
New and experimental
On a sunny winter day, a person sitting near a large window feels warm and comfortable when the indoor air temperature is 75°F. After sunset, with the same 75°F air temperature, the same person now feels chilly. What best explains this situation?
The mean radiant temperature dropped after sunset as the cold window glass radiated heat away from the person

Referring to Solar Chart, the shaded area represents:
The Solar Window
A building engineer is analyzing natural ventilation rates in a classroom with fixed window openings. The data shows that during heating season (winter), the same window opening provides higher airflow compared to non-heating season (summer). Which ONE statement BEST explains this difference?
Cold winter air is denser and the greater temperature difference between inside and outside creates a higher exchange rate
Longitude matters more than latitude in determining solar paths
False

Referring to Psychrometric Chart: If the area within the dashed region is the typical Comfort Zone for the average person under normal circumstances, what is the region in the solid line?
The Comfort Zone shifted by high mean radiant temperature
Which of the following are components of Microclimate but not Macroclimate?
Vegetation, Soil Types
Fill in all three blanks with one answer: Since dry climates have little moisture to block radiation daytime temperatures are ___ and nighttime temperatures are ____. Therefore the diurnal temperature range is ____.
high/low/high
Which ONE of the following best describes the difference between operational energy and embodied energy in buildings?
Operational energy is the energy consumed by mechanical and electrical equipment during building use, while embodied energy is the energy consumed during construction
Which of the following is not true regarding Heat?
The Mean Radiant Temperature is equal everywhere in a room
A building project team is applying the three-tier approach to energy-efficient design. After completing Tier 1 strategies, the architect proposes several Tier 2 strategies. The mechanical engineer reminds the team that Tier 3 should only be selected after Tiers 1 and 2 are finalized. What BEST explains the reasoning behind this sequence?
Mechanical equipment in Tier 3 must be sized based on the reduced heating and cooling loads achieved by Tiers 1 and 2 combined
True or False: The temperature differences between land and water create breezes coming in from the sea in the day and breezes going out to sea at night.
True
If the total R value for an assembly is 20, what is the U value?
0.05

A building is located in a climate zone that falls within the "HIGH THERMAL MASS WITH NIGHT VENTILATION" region of the bioclimatic chart. What strategy should the building incorporate?
Thick walls and floors that absorb heat during the day and are cooled by opening windows at night
Which of the following statements about the climate is not correct?
A. Rain shadows occur on the leeward side of mountain ranges
B. The macroclimate of a region is affected very much by its Latitude
C. The microclimate of a site is affected by its longitude
D. Large bodies of water moderate temperatures
C
A building site has climate conditions that fall to the right of the vertical shade line on the bioclimatic chart. What does this indicate to the designer?
The sun should be prevented from entering windows to avoid overheating
Solar radiation is more intense…
When the solar rays are more perpendicular to the Earth's surface in that location
Tier 2 of Sustainable Design consists of which of the following:
A. Basic building design for heat retention, heat rejection, heat avoidance
B. Passive systems for harnessing locally-available natural energies
C. Equipment for human comfort regardless of the source of the energy or the consequences.
D. Active sustainable equipment operated by electricity or other external energy sources
B
A building scientist is calculating degree days for a location to estimate energy needs. Complete the following sentences with the correct terms: Heating Degree Days (HDD) are accumulated when the average daily temperature is ___________ the base temperature of 65°F (18°C). Cooling Degree Days (CDD) are accumulated when the average daily temperature is ___________ the base temperature. The base temperature of 65°F (18°C) represents the point where ___________ .
below / above / no heating or cooling is needed
The most important factor when determining solar paths is…
Latitude
Which of these is not true about the Comfort Zone?
A. What constitutes the Comfort Zone for any person or group is highly dependent on cultural and pereceptual factors
B. Sensible Temperature, Wind Velocity, and Relative Humidity all have an impact on Human Comfort
C. The Comfort Zone can be shifted
D. There is only one Comfort Zone, and it is perceived by everyone in the same way.
D
Compared to adults, children generally have a ___________ thermal comfort temperature because they have a ___________ metabolic rate per body weight and a ___________ sweating rate.
lower / higher / lower
Temperature measurements in a room show 77°F near the ceiling, 75°F at mid-height, and 73°F near the floor. Why is this uncomfortable for occupants?
Warm air near the ceiling and cooler air near the floor creates a situation where heads are hot and feet are cold, which is the opposite of comfort
Considering the performance of skylights, which statement is correct?
A. A skylight in June collects about 25% less radiation than an east or west window
B. A skylight receives more sunshine on June 21st than on December 21st
C. Skylights are recommended as the primary passive heating strategy
D. A skylight's performance is ideal for passive heating
B
True or False: Spectrally selective glazing is designed to have a low Light-to-Solar-Gain (LSG) ratio.
False
Which statement about passive solar system components and heat flow is correct?
A. Water is a poor choice for thermal mass in a direct gain system because its convection currents make temperature swings worse.
B. In a Trombe wall, the primary mechanism for heating the interior space at night is convection through the wall vents.
C. The "time lag" in a solid masonry wall is beneficial because it allows heat collected during the day to reach the interior space in the evening.
D. In a direct gain system, the greenhouse effect is caused by thermal mass absorbing and re-radiating long-wave radiation.
C
An internally dominated building is characterized by what features?
A balance point of 50°F and typical rooms having zero to one exterior walls
Which two dates/times should be analyzed, respectively, to verify that a south-facing window is fully shaded for summer and will receive full sun for winter?
Last day of overheated period at noon and last day of underheated period at noon.
Which statement about daylighting principles and strategies is correct?
Bilateral lighting is effective at reducing glare
For a window with an 8 ft head height, what is the approximate daylight penetration depth without and with an exterior light shelf?
12 ft standard; 16 ft with light shelf
What precedents best represents the following passive strategies: Trombe wall, sunspace, and glare-free daylighting?
Nature & Environment Learning Centre, Douglas Balcomb House, Menil Collection

Referring to the Clear Day Solar Chart, what causes the surface receiving the most Solar Radiation to shift from Horizontal surfaces to South-facing surfaces from September to March?
Because the sun is lower in the sky, the surface of a building most perpendicular to the Sun shifts from a Horizontal surface to the South Façade
True or False: To be more effective than a Fixed Shade, a Movable Shade must have many different possible positions.
False
Why is a water container's effective thickness for thermal storage (6-12 inches) greater than that of concrete (4-6 inches)?
Convection currents in water allow heat to be distributed deeply throughout the container.
A designer chooses a Trombe wall for a library reading area. Why might they prefer this system over direct gain for this specific space?
To provide winter heat without the potential for glare and UV damage to books from direct sunlight.
Which statement best describes the effect of night insulation on the heating load contributed by solar for south-facing glazing design?
Night insulation increases the percentage of the heating load contributed by solar in all climate regions.
True or False: Luminance and Brightness are not exactly synonyms, but they refer to different ways of measuring or perceiving the same phenomenon.
True
Which of the following is not a preferred technique for using skylights?
A. Place them as low as possible
B. Filter and bounce the light to decrease glare and hotspots
C. Spread out through the space as evenly as possible
D. Place adjacent to walls when possible
A
What is the recommended strategy for south-facing windows to maximize passive solar heating?
Maximize solar transmission and add night insulation to reduce heat loss.
Which of the following is not true of Light Shelves:
A. Increase Daylight penetration into building
B. Should be placed above eye level to prevent glare
C. They are most effective when used as the sole daylighting strategy
D. Perform best when designed to be indoor and outdoor
C

True or False: Referring to the Clear Day Solar Diagram, a similar diagram of Solar Radiation for a site above the Arctic Circle would look very similar.
False
Which of the following statements about thermal mass in a direct gain system is true?
A. The mass should be a light color to reflect sunlight onto other surfaces.
B. Due to the time lag, only the first 4-6 inches of a solid masonry wall are useful for daily heat storage.
C. The mass should be placed as far as possible from the south glazing to prevent overheating.
D. The surface area of the mass is less important than its thickness.
B
What was the intent of the inverted-pyramid shape of Tempe City Hall?
The building is self-shading during summer months
What is the fundamental functional difference between a direct gain system and a Trombe wall system?
Direct gain heats the space immediately with sunlight, while a Trombe wall delays the heat delivery, often until evening.
True or False: Strictly from a thermal gain standpoint, Sunspaces are the least economical of the primary passive solar systems.
True
Which of the following statements about the Daylight Factor (DF) is not correct?
A. The DF is dependent on the latitude and weather patterns of the building's location.
B. It is the ratio of indoor illumination to outdoor illumination on an overcast day.
C. A room with a DF above 5% will be well lit, needing little to no electric lighting for difficult visual tasks.
D. A classroom with a DF of 4% at 34° N latitude on an overcast day (8500 lux outside) would have an average indoor illumination of 340 lux.
A
Le Corbusier's Maison La Roche is cited as a precedent for which specific daylighting strategy?
The use of high ribbon windows for light and ventilation.
A designer is adding a sunspace to a 2,000 sq ft building. The living room occupies one-fifth of the building area and will be directly adjacent to the sunspace. The recommended glazing area for the sunspace is 20% of the adjacent floor area, and the glazing-to-masonry wall area ratio is 1:2. What are the recommended glazing area and masonry wall surface area for the sunspace?
80 and 160 sq ft
For a building in a region with a long, hot summer and a mild winter, what is the recommended strategy for east and west glazing?
Use low solar heat gain, selective low-e glazing
What is the primary benefit of using a "parasol roof"?
It shades the roof and any outdoor spaces below it, reducing heat gain