1/96
Name | Mastery | Learn | Test | Matching | Spaced | Call with Kai |
|---|
No analytics yet
Send a link to your students to track their progress
Draw the circuit symbol for a cell

Draw the circuit symbol for a battery

Draw the circuit symbol for an open switch

Draw the circuit symbol for a closed switch

Draw the circuit symbol for a power supply

Draw the circuit symbol for a filament lamp

Draw the circuit symbol for a ammeter

Draw the circuit symbol for a voltmeter

Draw the circuit symbol for a fixed resistor

Draw the circuit symbol for a variable resistor

Draw the circuit symbol for a fuse

Draw the circuit symbol for a thermistor

Draw the circuit symbol for a diode

Draw the circuit symbol for an LED

Draw the circuit symbol for an LDR

Draw a circuit diagram with a battery, 2 bulbs and an open switch in series.

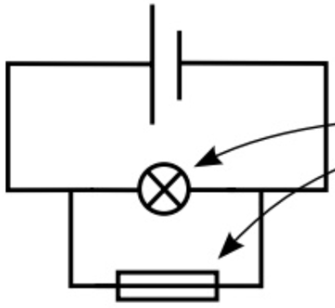
Draw a circuit diagram with a cell, a bulb and a fuse in series.

Draw a circuit diagram with a cell, a bulb and a fuse in parallel.

What is needed for current to flow?
1. Source of potential difference (power supply). 2. A closed loop (complete circuit). 3. All components made from electrical conductors
What is electric charge?
Electric charge is a fundamental property of all matter (just like mass). It can be positive, negative or neutral.
What is electric current?
Electric current is the rate of flow of electric charge.
What is the unit for electric current?
Electric current is measured in Amps (A).
What does it mean if the current at a certain point is 3 Amps?
3 Coulombs of charge flow through that point every second
What is the formula electric charge flowing past a point in terms of electric current?

What does it mean if an ammeter measures a current 1A?
There is 1 Coulomb of charge flowing through the ammeter every second.
What does it mean if an ammeter measures a current 5A?
There is 5 Coulomb of charge flowing through the ammeter every second.
What does it mean if an ammeter measures a current 8A?
There is 8 Coulombs of charge flowing through the ammeter every second.
In which direction does conventional current flow?
Positive to negative
In which direction is the net flow of electrons?
Negative to positive
Why is conventional current in the opposite direction to the net flow of electrons?
It is historic: conventional current was defined before electrons had been discovered!
What is potential difference across 2 points?
The potential difference across 2 points is the amount of energy transferred to/from each Coulomb of charge between those 2 points.
What is the formula for the potential difference in terms of charge and work done?

Draw a circuit with cell and a voltmeter measuring the potential difference across some component.

What device is used to measure electric current?
An ammeter is used to measure electric current.
What does an ammeter measure?
An ammeter is used to measure electric current.
How are ammeters connected?
Ammeters are always connected in series.
Draw a circuit with cell, a closed switch and an ammeter measuring the current through a bulb.

What device is used to measure potential difference?
An voltmeter is used to measure potential difference between 2 points.
What does a voltmeter measure?
An voltmeter is used to measure potential difference between 2 points.
How are voltmeters connected?
Voltmeters are connected in parallel across 2 points.
Ammeters measure the current ____________ the device.
through
Voltmeters measure the potential difference ___________ two points in a circuit.
across
What is resistance?
Resistance is the amount of potential difference across two points required to produce a current of 1 Amp.
What is the formula for resistance?

What are the units for resistance
Ohms
What does it mean if a component has a resistance of 5 ohms?
To produce a current of 1A through the component, the potential difference across the component has to be 5V (5 J of energy is transferred from each Coulomb of charge to the component).
What does it mean if a component has a resistance of 12 ohms?
To produce a current of 1A throught the component, the potential difference across the component has to be 12V (12 J of energy is transferred from each Coulomb of charge to the component).
What is Ohm's Law?
Provided that the physical conditions, such as temperature, remain constant, the current through an ohmic conductor is directly proportional to the potential difference across it.
Sketch a graph of current against potential difference (an I-V graph) for an ohmic conductor.

How can you calculate the resistance of an ohmic conductor given it's I-V graph?
The resistance is given by 1/gradient.
What happens to the current through an ohmic conductor if the potential difference halves?
The current also halves.
What happens to the current through an ohmic conductor if the potential difference doubles?
The current also doubles.
What happens to the current through an ohmic conductor if the potential difference trebles?
The current also trebles.
What has happened to the potential difference across an ohmic conductor if the current quarters?
The potential difference must have quartered.
What has happened to the potential difference across an ohmic conductor if the current quadruples?
The potential difference must have quadrupled.
What has happened to the potential difference across an ohmic conductor if the current multiplies by a factor 10?
The potential difference must have multiplied by a factor 10.
How does resistance vary with current for an ohmic conductor?
Resistance is constant for any current in an ohmic conductor.
How does resistance vary with potential difference for an ohmic conductor?
Resistance is constant for any potential difference in an ohmic conductor.
How does potential difference vary with current for an ohmic conductor?
Potential difference is directly proportional to current, so as current increases potential difference also increases.
How does current vary with potential difference for an ohmic conductor?
Current is directly proportional to potential difference, so as potential difference increases current also increases.
What is an I-V graph?
An I-V graph is a graph of current through a component against potential difference across a component.
How can you calculate the resistance of a component at a particular potential difference given it's I-V graph?
Draw a tangent to the curve at that potential difference. The resistance is given by 1/gradient of that tangent.
How can you calculate the resistance of a component at a particular current given it's I-V graph?
Draw a tangent to the curve at that current. The resistance is given by 1/gradient of that tangent.
Draw a circuit that can be used to plot a graph of I against V for any component.

State 3 formulae for electrical power in terms of V, I and R.
P = I V, P = I^2 R, P = V^2 / R
Define resistivity

The more better a material is at conducting electricity, the ___________ it's resistivity.
lower
Which material is more conductive, material A (ρ = 3.5 x 10^-5) or material B (ρ = 2.44 x 10^-8)? Why?
Material B because it has a lower resistivity.
The higher the resistivity of a material, the _________ conductive the material is.
less
What 2 factors does resistivity depend on?
The type of material and the temperature.
Resistivity is independent of...
The shape and size of the material.
As temperature increases, the resistivity of a metal conductor __________.
Increases
The resistivity of a metal conductor decreases as the temperature _________.
Decreases
What is the resistivity of a wire with diameter 0.30mm, length 20cm and resistance 3.0 Ω?
1.1 x 10 ^ -6 Ω m (to 2 sf)
What is the resistance of 80cm of a 0.50mm diameter copper wire? (The resistivity of copper is 1.7 x 10 ^ -8 Ω m).
0.069 Ω (to 2 sf)
What is the length of an aluminium square rod with resistance 0.200Ω and width 2.00cm? (The resistivity of aluminium is 2.82 x 10^ -8 Ω m).
2.84km (to 3 sf)
What is the diameter of a 30cm nichrome wire with resistance 0.068 Ω? (Nichrome has a resistivity 1.50 x 10 ^ -8).
0.29mm (to 2 s f)
Materials with more charge carriers are ___________ at conducting electricity.
Better
Materials with less charge carriers have ___________ resistivity.
Higher
Materials with lower resistivity typically have ___________ charge carriers.
More
Materials which are less conductive typically have ___________ charge carriers.
Less
What is a thermistor?
A thermistor is a resistor that has a resistance which varies with temperature.
What is an NTC thermistor?
An NTC thermistor is a resistor that has a resistance which decreases with temperature.
What is an LDR?
An LDR is a resistor that has a resistance which decreases with light intensity.
Sketch a graph of resistance against temperature for an NTC thermistor.

Sketch a graph of resistance against light intensity for an LDR.

Sketch a graph of resistivity against temperature for an NTC thermistor.

Sketch a graph of resistivity against light intensity for an LDR.

Draw a circuit that could be used to investigate the resistance of a thermistor.

Suggest how you can control the temperature of the thermistor in this experiment?
Place a submersible thermistor in a beaker, and pour boiling water into the beaker until the thermistor is fully covered. As the water cools, measure the current and p.d. for every value of the temperature required for your experiment (e.g. every 5°C until room temperature).
In the experiment to determine how the resistance of a thermistor varies with temperature, what type of variable is the resistance: independent, dependent or control?
Dependent
In the experiment to determine how the resistance of a thermistor varies with temperature, what type of variable is the temperature: independent, dependent or control?
Independent
In the experiment to determine how the resistance of a thermistor varies with temperature, what type of variable is the potential difference: independent, dependent or control?
Control
Suggest the IV, DV and control variables to determine how the resistance of a thermistor varies with temperature.
IV: temperature, DV: Resistance, CVs: potential difference,
State the equipment needed for the experiment to determine how the resistance of a thermistor varies with temperature.
Power supply, wires, water bath, ammeter, voltmeter, submersible thermistor, temperature.
Suggest a table that a student could draw when determining how the resistance of a thermistor varies with temperature.

In the experiment to determine how the resistance of a thermistor varies with temperature, how can the student determine the resistance at each value of the temperature?
Use R = V / I, measuring V from the voltmeter and I from the ammeter at that particular temperature of the water bath .