1/62
Looks like no tags are added yet.
Name | Mastery | Learn | Test | Matching | Spaced | Call with Kai |
|---|
No analytics yet
Send a link to your students to track their progress

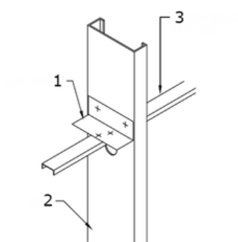
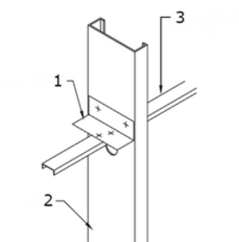
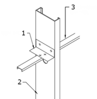
Which is 1
CLIP ANGLE

Which is 2
Stud

Which is 3
COLD-ROLLED CHANNEL

Which is 1
END CLIPS

Which is 2
FOUNDATION CLIP

Which is 3
JOIST HANGER

Which is 4
Web stiffener

Which is 5
V-bracing

Which is 6
1 1/2” cold rolled channel

What is this
Torch cutting

What is this
Power shears

What is this
Tin snips

What is this
Power saw

What is this
Moment connection

What is this
Framed beam-girder connection

What is this
Seated connection

What is this
Shear connection

What is this
End plate

Which is 1
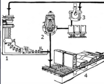
Charging scrap

Which is 2
Charging hot metal

Which is 3
Main blow

Which is 4
Sampling

Which is 5
Tapping

Which is 6
Slag off

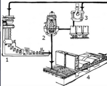
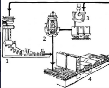
Which is 1
Continuous casting

Which is 2
Blooming mill

Which is 3
Ingot teeming

Which is 4
Reheating furnaces

Which is 1
Side wall

Which is 2
Interior bearing wall

Which is 3
End wall

What is this
Flat roof

What is this
Gable roof

What is this
Hip roof

What is this
Single pitch

What type of sketch is this
A framing plan

Which is the rafter
A

Which is the header
D

Which is 1
Common nail

Which is 2
Box nail

Which is 3
Casing nail

Which is 4
Finish nail

Which is 5
Brad

Which is 6
Deformed shank nail

Which is 7
Hardened concrete nail

Which is 8
Cut nail

Which is 9
Roofing nail

Which is 1
Frames panel

Which is 2
Stressed-skin panel

Which is 3
Structural insulated panel

Which is A
Dead bark

Which is B
Living bark

Which is C
Cambium layer

Which is D
Sapwood

Which is E
Heartwood

Which is F
Pith

What image is this
A ventilating air space around the beam end

What is this
Fire cut beam ends

What is this
Upper clip restrains beam

Which is 1
Tongue and groove

Which is 2
Spline

Which is 3
Laminated deck

What is 4
Glue laminated decking